요약
본문내용
1. 일반사항
1.1 적용범위
이 시방서는 지하수 중 깊은 우물의 취수시설공사에 필요한 일반적인 사항에 대하여 규정한다.
1.2 참고기준
내용 없음.
1.3 용어의 정의
내용 없음.
2. 자재
내용 없음.
3. 시공
3.1 우물의 착정
(1) 안정된 취수량 확보를 위하여 충분한 조사를 바탕으로 양호한 대수층 및 대수층에 알맞은 스크린을 설치하여야 하며, 지하수 부존량에 알맞은 펌프를 선정하여야 한다.
(2) 깊은 우물착정을 위해서는 대상 토지의 지형․지질과 환경을 고려하여 선정토록 하고, 사용하는 점토수의 종류, 밀도 및 점성 등을 충분히 고려하여야 한다.
(3) 깊은 우물착정 시, 우물의 공이 휘어지지 않토록 하며, 굴진 중에 우물의 공 중심을 측정할 수 있는 설비를 구축토록 하고, 경사측정기로 공의 휘어짐을 확인하면서 굴진하여야 한다.
(4) 굴진 중 각 지층의 시료채취와 전기검층을 실시하여 작업일보에 정확히 판단 기재하여야 하며, 착정시 각 지층의 대표시료를 채취․분석한 후 입도곡선을 작성하여 스크린 개공 규격 결정 및 설치 위치를 결정하여야 한다.
(5) 케이싱 강하작업은 가능한 한 빠른 시간 내에 하고, 강하작업 완료후 충전자갈투입을 조속히 실시하여야 하며, 충전자갈은 계산된 투입량보다 20% 정도 많이 준비하고, 투입할 때에는 중간에 공동이 생기지 않도록 일정량을 연속적으로 투입하여야 한다.
(6) 케이싱 내의 점토수를 맑은 물로 치환하기 위하여 점토를 배제하고, 에어써징, 과잉양수, 스와빙법, 백워싱법 등 여러 가지 방법을 조합하여 우물 주변의 대수층에서 모래 등 미세입자를 충분히 제거하고 마무리작업을 실시하여야 한다.
(7) 최종 양수시험 시 방류수의 모래 함유량을 측정하여 일정 함량 이상으로 판명될 경우, 우물을 다시 착정하여야 한다.
(8) 양수시험은 KCS 57 20 15 복류수·강변여과수 취수시설 설치공사 1.6의 해당 시방서 내용에 따른다.
3.2 우물의 구조
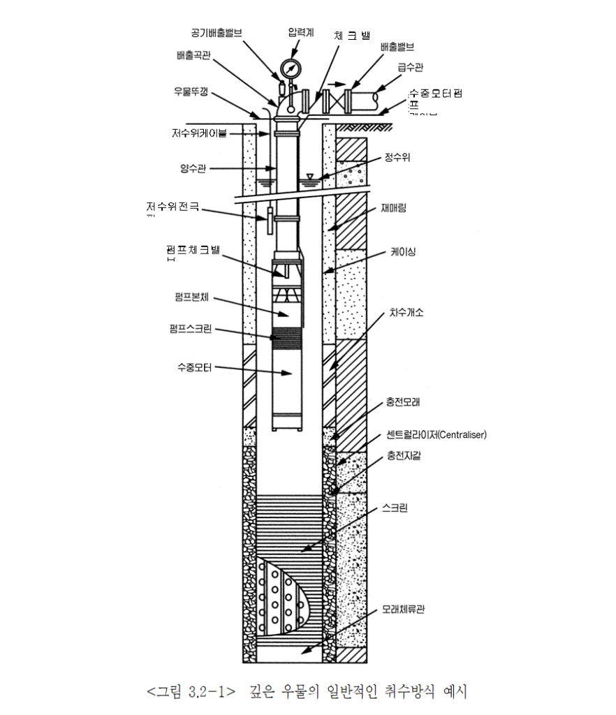
(1) 우물의 구조는 다음 <그림 3.2-1>와 같으며, 우물의 구조 선정 시에는 예정심도, 양수량, 지하수의 수위 및 수질 등을 고려하여 결정하여야 한다.

(2) 케이싱은 수질의 영향에 의한 부식이나 전식의 우려가 없는 재질을 선정하여야 하고, 케이싱 및 스크린의 접합은 수밀성이 보장되는 이음방식으로 시공하여야 한다.
(3) 양수펌프 설치위치는 모래유입 가능성 및 경제성 등을 종합적으로 고려하여 위치를 결정하여 시공하여야 한다.
3.3 우물용 스크린
(1) 지하수면 상부는 케이싱을 설치하고, 지하수면 하부의 대수층 구간에는 스크린을 설치하며, 스크린 최하부에는 유사시설로서 맹관을 스크린에 붙여 시공한다.
(2) 케이싱 및 스트레이너는 센트럴라이저를 설치하여 우물 중심부에 설치되도록 하여야 한다.
(3) 지하수의 유입속도는 모래의 소류한계속도 이하를 표준으로 하되, 가능한 한 느리도록 스크린 개구율을 크게 설치한다.
(4) 스크린 선정은 채수층의 지질 및 환경 등을 종합적으로 고려하여야 한다.
(5) 스크린 재질은 케이싱과 같이 지질의 경연, 심도 및 수질(철, 망간, 미생물 등)의 영향에 의한 부식이나 전식을 고려하여 선정하여야 한다.
(6) 기타 여기에서 언급하지 않은 사항은 발주자의 요구조건 및 강변여과수의 스크린 시방사항을 준용하여 설치한다.
댓글